根据《体外诊断试剂注册管理办法》(局令5号)的规定,已备案的体外诊断试剂,备案信息表中登载内容及备案的产品技术要求发生变化的,备案人应当提交变化情况的说明及相关证明文件,向原备案部门提出变更备案信息。备案资料符合形式要求的,食品药品监督管理部门应当将变更情况登载于变更信息中,将备案资料存档。
注意:已备案的体外诊断试剂管理类别调整的,备案人应当主动向食品药品监督管理部门提出取消原备案。
第一类体外诊断试剂IVD(产品备案变更)申请所需资料
1、第一类体外诊断试剂备案表;
2、安全风险分析报告;
3、产品技术要求;
4、产品检验报告;
5、临床评价资料;
6、产品说明书及最小销售单元标签设计样稿;
7、生产制造信息;
8、证明性文件:企业营业执照复印件、组织机构代码证复印件;
9、符合性声明
(1)声明符合医疗器械备案相关要求;
(2)声明本产品符合第一类医疗器械产品目录和相应体外诊断试剂分类子目录的有关内容;
(3)声明本产品符合现行国家标准、行业标准并提供符合标准的清单;
(4)声明所提交备案资料的真实性。
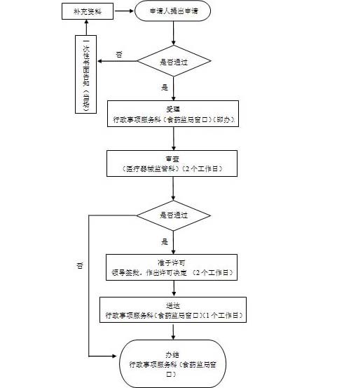
一类ivd备案变更办理流程图

第一类IVD(产品备案变更)服务流程

备注
* 已备案的医疗器械,备案信息表中登载内容及备案的产品技术要求发生变化的,备案人应当提交变化情况的说明及相关证明文件,向原备案部门提出变更备案信息。
* 备案资料符合形式要求的,食品药品监督管理部门应当将变更情况登载于变更信息中,将备案资料存档。
* 已备案的医疗器械管理类别调整的,备案人应当主动向食品药品监督管理部门提出取消原备案;
* 管理类别调整为第二类或者第三类医疗器械的,按照局令第5号规定申请注册。
第一类IVD(产品备案变更)收费标准
办理第一类IVD(产品备案变更),CFDA不收取费用。
第一类IVD(产品备案变更)办理依据
| 文件名称 | 文号 |
|---|
| 《医疗器械监督管理条例》 | 650号文件 |
| 《体外诊断试剂注册管理办法》 | 局令5号 |
| 药监总局办公厅关于实施第一类医疗器械备案有关事项的通知 | 食药监办械管〔2014〕174号 |
第一类IVD(产品备案变更)服务周期
立项阶段
预算、合同、考虑期,3个工作日。
受理前资料准备
企业产品自检,出具自检报告。
资料准备时间,视实际发生为准。3个工作日
受理后
形式审查责任(2个工作日):药监对申请材料审核,提出意见。
出具备案凭证责任(2个工作日):予以备案的出具备案凭证,不予备案的告知理由。
送达责任(1个工作日):送达备案凭证,并公开信息。
预算合计
预计一类IVD备案变更周期,在10-15个工作日。
第一类IVD(产品备案变更)推荐服务